首页
题库
网课
在线模考
桌面端
登录
搜标题
搜题干
搜选项
0
/ 200字
搜索
问答题
前、后轮侧偏刚度相等时,若前轴的( ),汽车呈现出不足转向特性。
A.侧向力小
B.前轮的侧偏角小
C.侧向力大
D.前轮的侧偏角大
点击查看答案
在线练习
手机看题
你可能感兴趣的试题
单项选择题
听力原文:W: Excuse me, can you tell me where is the Staff's Association meeting held?
M: It was planned to hold in Room 110, but has changed to the auditorium for more space.
Where is the. Association meeting held?
A.In Room 110.
B.In the meeting room.
C.In the auditorium.
D.In the staff room.
A.
Where
B.In
C.
B.In
D.
C.In
E.
D.In
F.
点击查看答案
手机看题
单项选择题
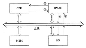
DMAC与其他部件的关系如下图所示。
其中,DMAC的4条信号线(按①、②、③、④顺序)的名称分别是( )。
A.DREQ、DACK、HPQ、HLDA
B.DREQ、HRQ、HLDA、DACK
C.HRQ、DREQ、DACK、HLDA
D.DREQ、HLDA、DACK、HRQ
A.shangxueba.cn/images/ct_chpcbm_chpcbchoose_01334(20093).jpg'>
其中,DMAC的4条信号线(按①、②、③、④顺序)的名称分别是(
B.DREQ、DACK、HPQ、HLDA
B.DREQ、HRQ、HLDA、DACK
C.HRQ、DREQ、DACK、HLDA
D.DREQ、HLDA、DACK、HRQ
点击查看答案
手机看题
微信扫码免费搜题